Danfoss (Weatherhead)

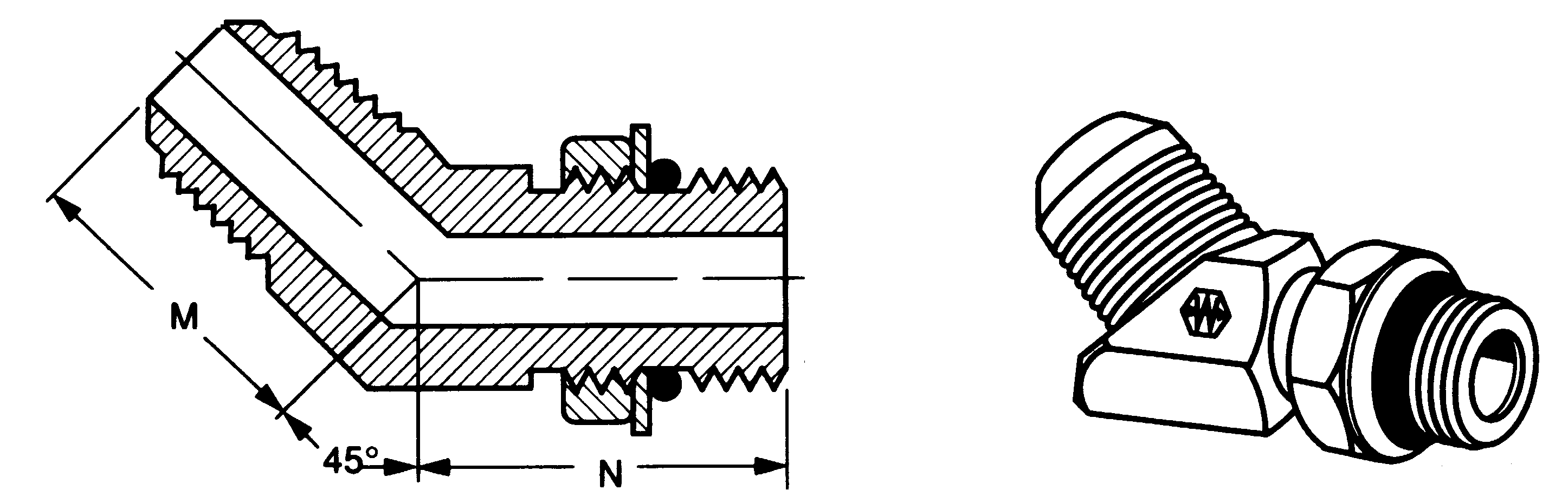
Steel SAE Straight Thread O-Ring 45° Elbow

Typical Application: Grease, instrumentation and most hydraulic systems.
Pressure: Refer to the pressure charts above. The maximum working pressure of an adapter is the lower working pressure of the end size. Ex: C3069x8x6, 8 = 4000 psi and 6 = 5000 psi. Maximum working pressure is 4000 psi.
Vibration: Fair resistance.
Temperature Range: –65°F to +400°F.
Material: Carbon Steel – AISI/SAE 12L14, Stainless Steel – type 316 Plating – Zinc, yellow dichromate finish ASTM B633 Type II.
Used With: Brass, bronze and iron pipe.
Advantages:
Dryseal pipe threads (NPTF) (SAE J476), zinc
plate, compact size. Broad range of sizes and styles.

Part Number
TUBE O.D.
PORT SIZE
M
N
ACROSS FLATS
1/4
1/4
.72
1.05
7/16
C5365X5
5/16
5/16
.77
1.05
9/16
3/8
3/8
.73
1.14
9/16
1/2
1/2
.98
1.30
3/4
1/2
5/8
.99
1.52
7/8
5/8
5/8
1.11
1.52
7/8
C5365X12X10
3/4
5/8
1.28
1.57
1-1/16
3/4
3/4
1.28
1.73
1-1/16
C5365X16
1
1
1.47
1.86
1-5/16
1-1/4
1-1/4
1.59
1.91
1-5/8
1/4
1/4
.72
1.05
1/2
TF5365X5
5/16
5/16
.77
1.05
9/16
3/8
3/8
.83
1.14
5/8
TF5365X6X8
3/8
1/2
.87
1.30
13/16
TF5365X8X6
1/2
3/8
.98
1.17
13/16
TF5365X8
1/2
1/2
.98
1.30
13/16
TF5365X8X10
1/2
5/8
.99
1.52
15/16
5/8
1/2
1.09
1.41
15/16
TF5365X10
5/8
5/8
1.09
1.52
15/16
TF5365X10X12
5/8
3/4
1.22
1.73
1-1/8
TF5365X12X10
3/4
5/8
1.30
1.58
1-1/8
TF5365X12
3/4
3/4
1.28
1.73
1-1/8
TF5365X12X16
3/4
1
1.45
1.86
1-3/8
TF5365X14
7/8
7/8
1.39
1.80
1-1/4
TF5365X16X12
1
3/4
1.47
1.86
1-3/8
TF5365X16
1
1
1.47
1.86
1-3/8
TF5365X20
1-1/4
1-1/4
1.59
1.91
1-3/4
TF5365X24
1-1/2
1-1/2
1.78
1.91
2
TF5365X32
2
2
2.22
1.86
2-5/8

(Ref. SAE No. 070320) (Ref. MS51528)

Assembly Instructions 1. Tighten approximately 2-1/2 turns past hand tight. 2. Welding procedure: Use electric weldrod AWS-E7018. Recommended procedure specifies using lower amperage than usual and puddling of molten metal to permit gasses created by lead in steel to work through molten lead deposit. Label Set: FS-2000 (adhesive).