Danfoss (Weatherhead)

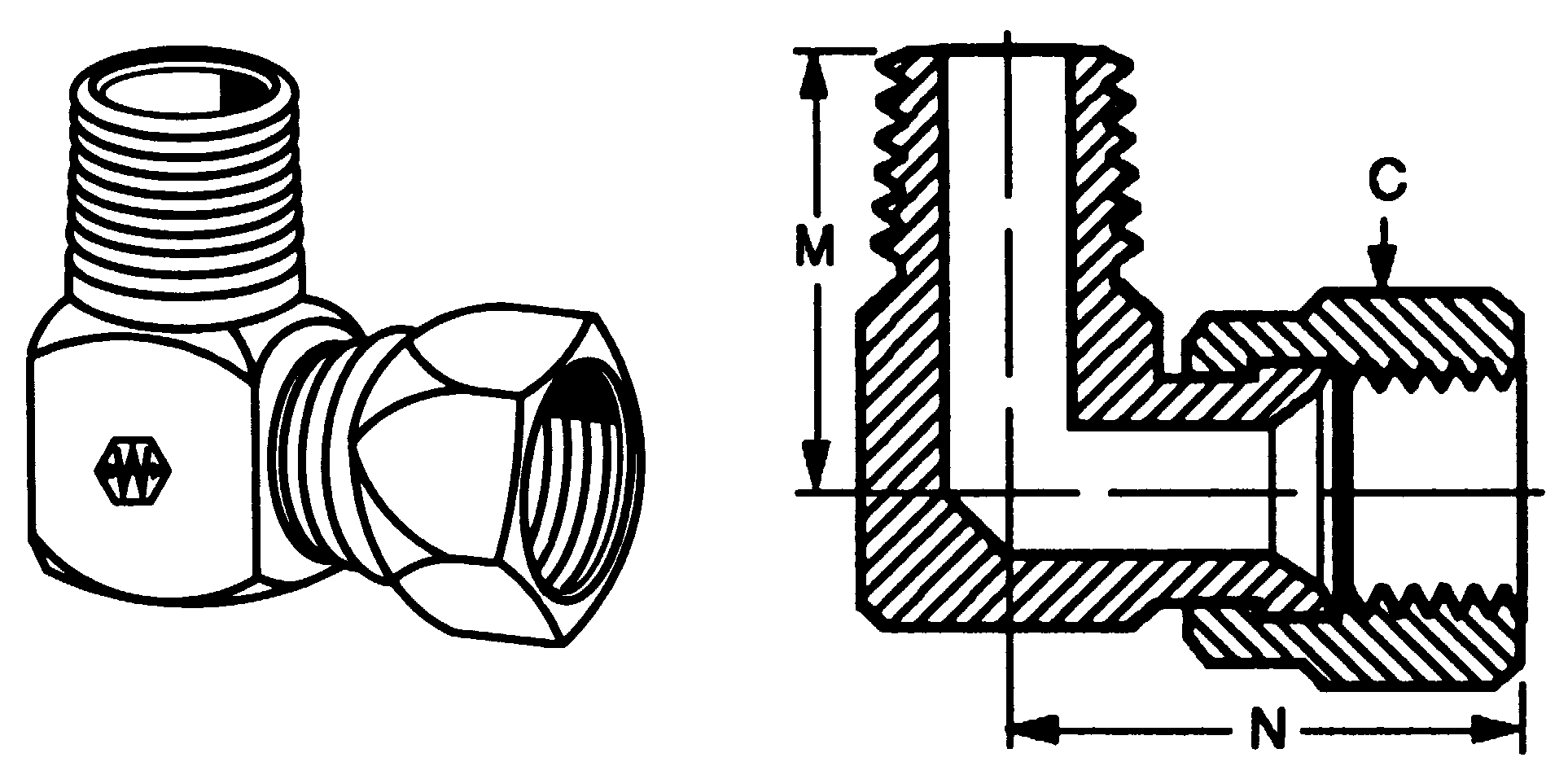
Steel–SAE 37° JIC 90° Male Pipe to JIC Swivel

Typical Application: Grease, instrumentation and most hydraulic systems.
Pressure: Refer to the pressure charts above. The maximum working pressure of an adapter is the lower working pressure of the end size. Ex: C3069x8x6, 8 = 4000 psi and 6 = 5000 psi. Maximum working pressure is 4000 psi.
Vibration: Fair resistance.
Temperature Range: –65°F to +400°F.
Material: Carbon Steel – AISI/SAE 12L14, Stainless Steel – type 316 Plating – Zinc, yellow dichromate finish ASTM B633 Type II.
Used With: Brass, bronze and iron pipe.
Advantages:
Dryseal pipe threads (NPTF) (SAE J476), zinc
plate, compact size. Broad range of sizes and styles.

Part Number
TUBE O.D.
MALE PIPE
M
N
ACROSS FLATS
TF5406X4
1/4
1/8
.78
1.00
1/2
TF5406X6
3/8
1/4
1.09
1.25
5/8
TF5406X8
1/2
3/8
1.22
1.38
13/16
TF5406X10
5/8
1/2
1.47
1.62
15/16
TF5406X12
3/4
3/4
1.59
1.75
1-1/8
TF5406X16
1
1
1.97
2.00
1-3/8
TF5406X20
1-1/4
1-1/4
2.38
2.31
1-3/4

NOTE: Fittings with a “TF” prefix do not meet MS standards; are of brazed construction.

https://catalogs.jhf.com/Pneumatic-and-Hydraulic-Equipment/1217/ 

Assembly Instructions 1. Tighten approximately 2-1/2 turns past hand tight. 2. Welding procedure: Use electric weldrod AWS-E7018. Recommended procedure specifies using lower amperage than usual and puddling of molten metal to permit gasses created by lead in steel to work through molten lead deposit. Label Set: FS-2000 (adhesive).